日前,有媒体报道称,和府餐饮旗下广州首家“小面小酒”正式亮相领展购物广场。和府方面表示,10月内还将有10家“小面小酒”陆续在全国多层级城市落地。预计2021年底,“小面小酒”将在全国布局门店50家。
据速途网了解,“小面小酒”是餐饮品牌和府捞面的子品牌,定位“一个人的小面一群人的小酒”,主要经营包括主食、江湖菜、小吃、饮品四大品类。今年4月,小面小酒首店在上海营业,营业首日营收突破4万元。随后,小面小酒的第二、三家店相继落户天津上海,并自开业以来,保持着平均每月即更新一次菜单并推出新品。

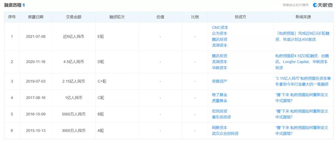
从“书房面”到“小面小酒”,和府捞面这几年在融资将近17亿后拿出了新的业绩增长点,也让行业看到和府捞面不再仅仅依靠“书房面”向资本讲故事。
“书房面”撑不起80亿人民币估值,和府亟待创新业态
近几年,餐饮行业不断涌现出新品牌,在各细分市场站稳脚跟的同时,也不断收获资本的青睐,和府捞面便是其中之一。
今年7月,和府捞面宣布完成由CMC资本领投,新股东众为资本、老股东腾讯投资、LongforCapital跟投的近8亿元E轮融资。和府捞面表示,该轮融资主要用于深入布局全产业链体系、新品牌打造、渠道建设及数字化能力构建等方面。此前,和府捞面已累计获得了约8.5亿元融资。
但速途网注意到,与近几年频获融资相对应的是,和府捞面在产品创新上却略显乏力,近几年除了店面扩张之外,并无新业态的推出,这与目前餐饮行业主流玩家推出多品牌的路数有些相悖。
要知道,海底捞、呷哺呷哺、西贝等老牌餐饮近几年不断孵化新品牌,试图通过新的业态吸引不同年龄阶层的消费者,一方面,新品牌可以借助老品牌沉淀多年的影响力迅速打开市场,另一方面,一定程度的创新也能让行业看到餐饮行业仍然具备想象力。就连相对低调的巴奴毛肚火锅也在去年推出了超岛火锅串串。
就和府捞面来说,门店数量上的扩张有利于品牌资产的升值,而其“不加盟”的模式,也保证了产品质量的管控。
但是,近两年来,面食已经成为投资机构眼中的明星赛道。兰州拉面品牌张拉拉、马记永相继完成了融资,遇见小面在融资后估值也达到了10亿元。值得注意的是,陆正耀在瑞幸咖啡之后推出的“趣小面”也是这一赛道,有消息人士称,目前仅仅开了20多家店的“趣小面”估值已经达到10亿元。

因此,在面食行业备受关注的当下,和府捞面亟需新品牌来提高其想象力“天花板”,撑起其80亿估值。据速途网了解,此前和府捞面曾推出以面饭、小食为主的“财神小排档”,财神面、和府到家以及和府快捷店等,但目前尚未披露最新进展。
而本次和府捞面押宝的小面小酒也是其新品牌之一,也是从定位来看最可能成功的一个,这也让和府捞面敢于喊出年底门店数量达到50家的口号。
餐饮行业无酒不欢,海伦司上市给行业启发
如果说,“小面小酒”是和府捞面新品牌中最可能成功的一个,那么还是要得益于其选择了“卖酒”的生意。
事实上,在过去很长一段时间内,“酒馆”生意都始终处于“有品类、无品牌”的尴尬境地内。毕竟,酒馆行业集中度低,又缺乏高知名度、高市占率成熟品牌。
然而,近年来,随着新消费风口的兴起,“酒馆”生意受到的重视程度愈发加大,不少餐饮企业纷纷入局,主动示好“酒”的同时,开启了“餐+酒”的新兴运营模式。
2019年4月,星巴克中国首家臻选·咖啡·酒坊BarMixato在上海正式落户;2020年,老乡鸡餐饮品牌老乡鸡在深圳开出旗下的首家酒吧;今年6月,海底捞正式上线了旗下的HI捞小酒馆,开始尝试新的“火锅+酒”的新业态。此外,喜家德、鼎泰丰等也都纷纷跨界做起了“卖酒”的生意。
在速途网看来,大量餐饮企业选择扎堆入局酒馆生意,不仅仅是基于迎合年轻人消费需求的基础,更是为打造高度黏性社交空间,留住年轻顾客群体的全新探索。换言之,“酒馆”生意实际上是对夜宵经济的探索。
根据CBNData消费大数据发布的《2020年轻人群酒水消费洞察报告》显示,年轻化是酒水市场的重要发展方向。从消费人数和人均消费水平来看,90后、95后消费者皆呈现增长趋势,年轻消费者逐渐成为市场消费的主力军。
另一方面,“小酒馆”海伦司的上市也给了行业很大启发。
据《2021中国小酒馆行业发展研究报告》显示,在疫情影响下,2020年中国酒馆市场规模达743.4亿元,2021年市场快速反弹,报告显示预计增长达28.1%,到2025年该市场规模或将达到1372.8亿元。根据弗若斯特沙利文报告,预计2020-2025年酒馆行业复合增速为18.8%。
而海伦司这样的小酒馆的目标消费群体主要是20-30岁的青年人,提供具有性价比的酒水和小吃产品组合,以酒饮+社交娱乐的方式打造出轻量化夜间娱乐场所,因此受到年轻人的欢迎,得以快速下沉到二三线城市。
据海伦司的招股书显示,2021年第一季度海伦司的收入为3.686亿元,而2020年同期仅为6204万元,同比增长494.5%。
但相较于其他行业,酒馆行业相对分散,目前几大头部连锁酒馆市占率仅为2.2%,体量最大的海伦司市占率也仅为1.1%,其他知名连锁酒馆如胡桃里音乐酒馆门店已超过400家,贰麻酒馆门店数已有近200家,Perrys酒吧门店数超过50家。
可见,即使“小酒馆”赛道仍有着较大的发展空间,但同质化及激烈地竞争,也依然使餐饮企业的突围困难重重。
现今,大部分餐饮企业的“餐+酒”模式都还处于试水阶段,如何避免同质化,并与品牌原本的业态相契合,不断推陈出新,才是确保“餐+酒”模式长久发展的重中之重。